开云体育app官方最新版 25起+超25亿!量子科技赛谈加快升温|聚焦

《科创板日报》2月22日讯(记者 黄修眉)除夕夜,春节晚合肥分会场《合韵满江淮》一亮相,就凭实力刷屏全网。我国著明量子科学家潘建伟院士及团队,携宇宙首颗量子科学施行卫星“墨子号”模子,亮迎合肥分会场。
2026年开年以来,在量子科技规模,中国科学家纷繁交出让大家同业惊羡的答卷。
2月12日,《当然》期刊发表了北京大学王剑威磨真金不怕火、龚旗煌院士团队的要紧恶果:经过6年多工夫攻关,他们研制出两款中枢芯片,生效构建大家首个基于集成光量子芯片的大规模量子密钥分发蚁集,这个蚁集被定名为“未名量子蚁集”;
此前1月28日,中国科学院物理照拂所科研团队在《当然》杂志发表论文,展示了在超导量子芯片施行中掌持量子系统热化节律的恶果。这项照拂立异性地给与就地多极驱动工夫,在量子系统热化调控规模取得要紧浮松,为改日量子计较机的实用化奠定了基础。
本色上,着眼若从科研转向产业,我国量子科技规模科研的发展,在表面收敛罢了浮松的同期,投融资驱动快速滚动成形状。这背后,则是市集以为量子计较工夫正从施行室研发加快迈向产业诈欺的要道窗口期。
东方嘉富、君联本钱、中科创星等机构“押宝”量子科技
“推进量子科技、生物制造、氢能和核聚变能、脑机接口、具身智能、第六代迁徙通讯等成为新的经济增长点。”
在《中共中央对于制定国民经济和社会发展第十五个五年筹画的建议》中,量子科技被崇拜列入改日产业布局的首位。这秀气着量子科技已从前沿探索层面,全面升格为国度层面必须霸占的计谋制高点。
从该规模的投融资热度中,也能一窥量子科技赛谈的计谋要紧性。财联社创投通统计涌现,仅2025年头适度2026年2月5日逾一年时候,量子科技(包括量子计较和量子计较机)赛谈,融资金额达25.16亿元,融资事件数达25起。
其投融资热度收敛攀升,投融资形状收敛增加,投融资体量收敛浮松。
具体到本钱层面,量子科技赛谈的一级股权融资动作每每。国资本钱、产业本钱、创投契构,聚焦中枢赛谈与优质地点,酿成协同布局步地。其中,东方嘉富、西湖投资、君联本钱、中科创星、南山战新投成为最为聚焦该赛谈的投资机构。
早在2016年时,东方嘉富就出资1.09亿元投资国盾量子。国盾量子于2020年7月登陆科创板后也成为我国量子科技规模第一家上市公司,被成为“量子科技规模第一股”。
2025年4月,东方嘉富又领投逻辑比特数千万元的天神轮融资;浙江省科创母基金(一期)、中原恒天、西湖科创投、藕舫天神等机构和个东谈主共同参与。
据悉,逻辑比特科技是一支来自杭州的超导量子团队,在超导量子系统规模屡创宇宙记载,手持量子芯片中枢专利,其最新的芯片以100+量子比特的规模达到宇宙一活水平。
{jz:field.toptypename/}雷同看好量子科技赛谈的君联本钱则“押宝”华翊量子。华翊量子于2025年7月秘书完成A轮融资,由京国瑞基金和君联本钱聚会投资。
华翊量子确立于2022年1月,是一家专注于离子阱量子计较工夫路子的研发商。公司奋勉于于开发量子计较云平台,提供量子计较机、量子元器件以及量子通讯开采等家具,为行业用户提供全面的量子计较处理决策。
看成硬科技理念提议方的中科创星,则看好不筹量子。不筹量子于2025年12月秘书完成数千万元的天神轮融资,由中科创星领投,复容投资、东方富海共同参与。
不筹量子团队主要源自复旦大学中性原子量子计较施行室。独创团队在原子量子计较规模深耕多年,开云体育app官方最新版具备系统性的施行工夫积聚和不竭的工夫迭代智力,领有在国表里量子计较赛谈中极具竞争力的原创性上风。
看成聚焦硬科技规模的投资机构,中科创星早在2019年就初次参与国内量子计较龙头企业本源量子的天神轮融资。
中科创星之是以如斯看好量子科技赛谈,其独创结伴东谈主、“硬科技”理念提议者米磊曾公开示意,“量子计较将是下一代算力,需要提前布局”。
2026年以来多起融资形状规模超亿元
从多起投融资事件的细分规模具体形状来看,当今量子科技赛谈的投融资主要聚焦专用量子计较机研发加快、与AI/超算会通长远等方面;
其中,量子-经典混所有较基础顺次成为投资要点;量子算法在分子模拟、药物缠绵规模后劲突显,有望大幅裁减研发周期;政策与本钱协同推进工夫迭代,专用量子计较机研发加快。
具体到企业端,从2026年以来的投融资形状规模来看,量子科技赛谈的投融资形状有着“数目增加、规模舒缓增大”的特质。适度当今,2月共3家企业分离赢得3次融资,1月有6家企业赢得共7次融资。
本年2月13日,前述著作提到逻辑比特秘书完成Pre-A+轮融资,由海望本钱和陆石投资领投。
逻辑比特科技官方公众号涌现,该公司于2022年6月在杭州确立,以罢了超低缺欠率的“逻辑比特”为愿景,奋勉于于研发规模化超导量子计较系统。公司中枢成员出自浙江大学超导量子计较团队,团队起步于2010年,尔后接踵罢了了10比特和20比特操控,两度创造超导量子系统全局纠缠比特数宇宙记录。
2021年,逻辑比特发布30比特“莫干1号”和“天目1号”立体封装量子芯片;2022年,进一步罢了跨越100比特的“天目2号”量子芯片,平均干系时候跨越100微秒;酿成了涵盖超导量子芯片缠绵、微纳加工、射频操控、量子计较和模拟全进程的深厚工夫储备。
适度当今,逻辑比特已完成共4轮融资。其于2024年1月完成数千万元的种子轮融资,浙大联创投资、浙大学友基金藕舫天神以及个东谈主投资东谈主跟投。
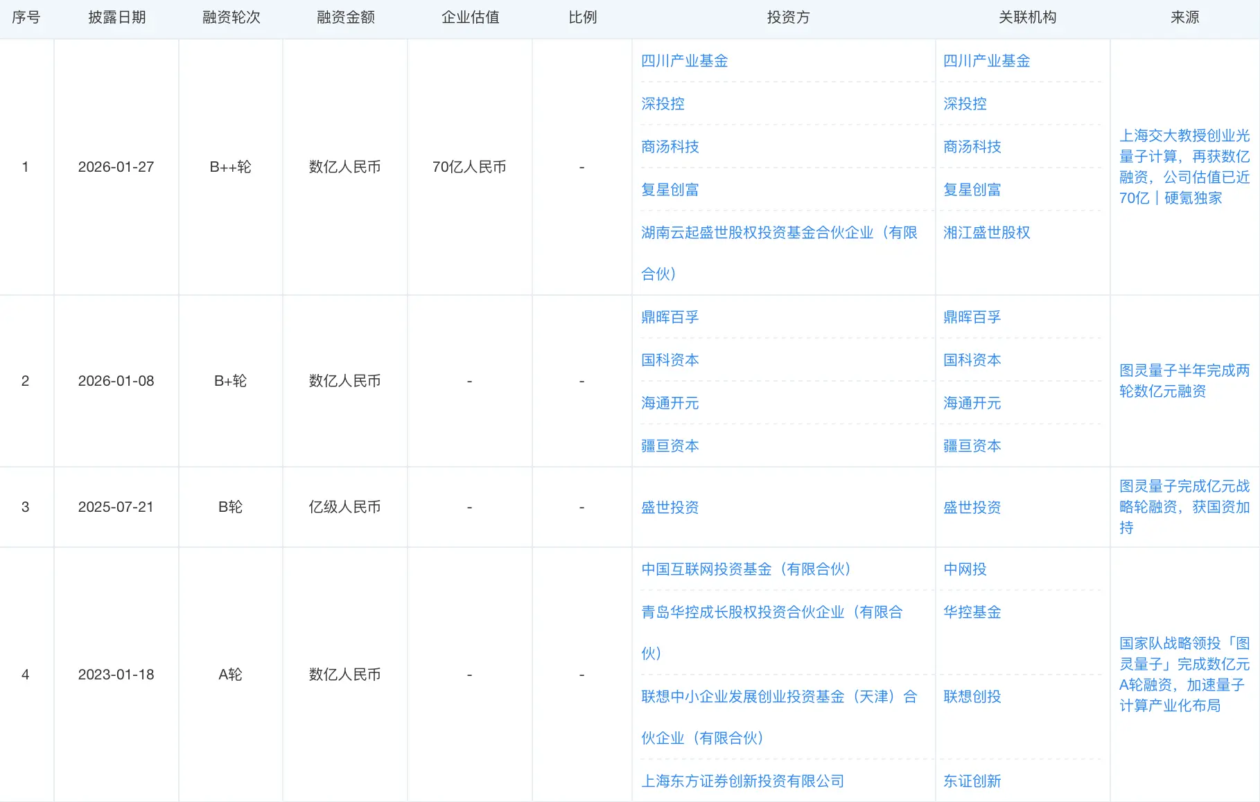
从融资规模来看,图灵量子在本年1月共完成2次规模为数亿元的融资,中间时候仅终结10天把握。1月8日,图灵量子秘书完成近亿元天神轮融资,由联思之星领投,中科神光、前海基金、源来本钱、小苗朗程跟投。同月的27日,图灵量子秘书完成数亿元B轮融资,由商汤科技、复星创富、深投控、川发伙同基金领投。
适度当今,图灵量子已完成7轮融资。其最早于2021年5月完成近亿元的天神轮融资。其尔后的每轮融资参投威望均较巨大。
融资规模为数亿元的还有量旋科技。该公司于1月22日秘书完成数亿元C轮融资,投资机构来自隆利科技、毅达本钱、晶凯本钱、恒泰华盛等。这距离前次对外泄漏B+轮的数亿元融资仅昔时不到半年。
确立于2018年的量旋科技,是国内较早布局超导量子计较机的企业。当今,量旋科技已拿下多个“第一”:推出大家第一台可编程桌面型量子计较机;成为中国第一家向国际出口超导量子芯片的公司;生效录用中国第一台出口国际的超导量子计较机整机。
融资规模超亿元的还有干系科技。2月9日,干系科技秘书完成超亿元Pre-A轮融资,由天空本钱、普华本钱领投,北创投、此岸时间、盈富泰克、启赋本钱、彬复本钱等机构跟投,指数本钱担任财务照拂人。
干系科技确立于2023年,是一家专注于提供超导量子计较工夫处理决策、量子计较工作的企业。干系科技独创东谈主金贻荣博士是中国首批超导量子计较开拓者,现任北京量子信息科学照拂院照拂员,量子云平台生态竖立团队负责东谈主,曾参与筹建量子院并主导创建超导量子计较团队和施行室。

备案号: